來源:壹芯微 發布日期
2021-02-22 瀏覽:-電子元件基礎知識--半導體三極管介紹
BJT是通過一定的工藝,將兩個PN結結合在一起的器件,由于PN結之間的相互影響,使BJT表現出不同于單個PN結的特性而具有電流放大,從而使PN結的應用發生了質的飛躍。本節將圍繞BJT為什么具有電流放大作用這個核心問題,討論BJT的結構、內部載流子的運動過程以及它的特性曲線和參數。 一、BJT的結構簡介 BJT又常稱為晶體管,它
BJT通過一定的工藝,將兩個PN結結合在一起的器件,由于PN結之間的相互影響, 使BJT表現出不同于單個 PN結的特性而具有電流放大,從而使PN結的應用發生了質的飛躍。本節將圍繞BJT為什么具有電流放大作用個核心問題,討論BJT的結構、內部載流子的運動過程以及它的特性曲線和數。
一、BJT的結構簡介
BJT又常稱為晶體管,它的種類很多。按照頻率分,有高頻管、低頻管; 按照功率分,有小、中、大功率管;按照半導體材料分,有硅管、鍺管;根據結構不同, 又可分成NPN型和PNP型等等。但從它們的外形來看,BJT都有三個電極,如圖3.1所示。
圖3.1是NPN型BJT的示意圖。 它是由兩個 PN結的三層半導體制成的。中間是一塊很薄的P型半導體(幾微米~幾十微米),兩邊各為一塊N型半導體。從三塊半導體上各自接出的一根引線就是BJT的三個電極,它們分別叫做發射極e、基極b和集電極c,對應的每塊半導體稱為發射區、基區和集電區。雖然發射區和集電區都是N型半導體,但是發射區比集電區摻的雜質多。在幾何尺寸上, 集電區的面積比發射區的大,這從圖3.1也可看到,因此它們并不是對稱的。
二、BJT的電流分配與放大作用
1、BJT內部載流子的傳輸過程
BJT工作于放大狀態的基本條件:發射結正偏、集電結反偏。
在外加電壓的作用下, BJT內部載流子的傳輸過程為:
(1)發射極注入電子
由于發射結外加正向電壓VEE,因此發射結的空間電荷區變窄,這時發射區的多數載流子電子不斷通過發射結擴散到基區, 形成發射極電流IE,其方向與電子流動方向相反,如圖3.2所示。
(2)電子在基區中的擴散與復合
由發射區來的電子注入基區后, 就在基區靠近發射結的邊界積累起來, 右基區中形成了一定的濃度梯度,靠近發射結附近濃度最高,離發射結越遠濃度越小。因此, 電子就要向集電結的方向擴散,在擴散過程中又會與基區中的空穴復合,同時接在基區的電源VEE的正端則不斷從基區拉走電子, 好像不斷供給基區空穴。電子復合的數目與電源從基區拉走的電子數目相等, 使基區的空穴濃度基本維持不變。這樣就形成了基極電流IB, 所以基極電流就是電子在基區與空穴復合的電流。 也就是說, 注基區的電子有一部分未到達集電結, 如復合越多, 則到達集電結的電子越少, 對放大是不利的。 所以為了減小復合,常把基區做得很薄 (幾微米),并使基區摻入雜質的濃度很低,因而電子在擴散過程中實際上與空穴復合的數量很少, 大部分都能能到達集電結。
(3)集電區收集電子
集電結外加反向電壓,其集電結的內電場非常強,且電場方向從C區指向B區。使集電區的電子和基區的空穴很難通過集電結,但對基區擴散到集電結邊緣的電子卻有很強的吸引力, 使電子很快地漂移過集電結為集電區所收集,形成集電極電流IC。 與此同時,集電區的空穴也會在該電場的作用下,漂移到基區, 形成很小的反向飽和電流ICB0 。
2、電流分配關系
與正向偏置的二極管電流類似,發射極電流iE與vBE成指數關系:
集電極電流iC是iE的一部分,即:
式中β稱為BJT的電流放大系數
三、BJT的特性曲線
1.共射極電路的特性曲線
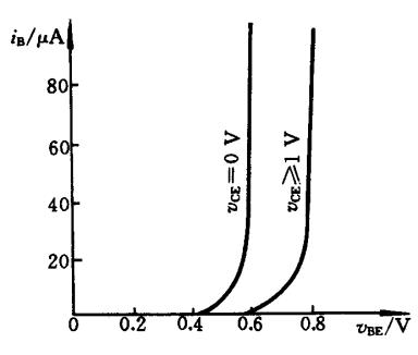
(1)輸入特性
VCE=0V時,b、e間加正向電壓,這時發射結和集電結均為正偏,相當于兩個二極管正向并聯的特性。
VCE≥1V時,這時集電結反偏,從發射區注入基區的電子絕大部分都漂移到集電極,只有小部分與空穴復合形成IB。 vCE>1V以后,IC增加很少,因此IB的變化量也很少,可以忽略vCE對IB的影響,即輸入特性曲線都重合。
注意:發射結開始導通的電壓vBE:0.6V~0.7V(硅管),0.1~0.3V(鍺管)
(2)輸出特性曲線
對于一確定的iB值,iC隨VCE的變化形成一條曲線,給出多個不同的iB值,就產生一個曲線族。如圖3.6所示。
① IB = 0V, IC=ICEO BJT截止,無放大作用,因此對應IB=0的輸出特性曲線以下的區域稱為截止區如圖3.6所示。
② IB﹥0 , VCE<1V ,iC隨IB的變化不遵循的規律,而且iC隨VCE的變化也是非線性的,所以該區域稱為飽和區。
③ IB﹥0、VCE≥1V,iC隨iB的變化情況為:
或
在這個區域中IC幾乎不隨VCE變化,對應于每一個IB值的特性曲線都幾乎與水平軸平行,因此該區域稱為線性區或放大區。
四、BJT的主要參數
BJT的參數是用來表征管子性能優劣相適應范圍的,它是選用BJT的依據。了解這些參數的意義,對于合理使用和充分利用BJT達到設計電路的經濟性和可靠性是十分必要的。
1.流放大系數
BJT在共射極接法時的電流放大系數,根據工作狀態的不同,在直流和交流兩種情況下分別用符號 和表示。其中
上式表明:BJT集電極的直流電流 IC與基極的直流電流IB的比值, 就是BJT接成共射極電路時的直流電流放大系數, 有時用hFE來代表 。
但是,BJT常常工作在有信號輸人的情況下,這時基極電流產生一個變化量,相應的集電極電流變化量為,則與之比稱為BJT的交流電流放大系數,記作即
2.極間反向電流
(1)集電極-基極反向飽和電流ICBO。表示發射極開路,c、b間加上一定的反向電壓時的電流。
(2)集電極-發射極反向飽和電流(穿透電流)ICEO。表示基極開路,c、e間加上一定的反向電壓時的集電極電流。
3.極限參數
(1)集電極最大允許電流ICM。表示BJT的參數變化不超過允許值時集電極允許的最大電流。當電流超過ICM時,三極管的性能將顯著下降,甚至有燒壞管子的可能。
(2)集電極最大允許功耗PCM。表示BJT的集電結允許損耗功率的最大值。超過此值時,三極管的性能將變壞或燒毀。
(3)反向擊穿電壓V(BR)CEO。 表示基極開路,c、e間的反向擊穿電壓。
4、晶體管的選擇
(1)依使用條件選PCM在安全區工作的管子, 并給予適當的散熱要求。
(2)要注意工作時反向擊穿電壓 , 特別是VCE不應超過 V(BR)CEO。
(3)要注意工作時的最大集電極電流IC不應超過ICM。
(4)要依使用要求:是小功率還是大功率, 低頻、高頻還是超高頻,工作電源的極性,β值大小要求。
壹芯微科技針對二三極管,MOS管作出了良好的性能測試,應用各大領域,如果您有遇到什么需要幫助解決的,可以點擊右邊的工程師,或者點擊銷售經理給您精準的報價以及產品介紹
工廠地址:安徽省六安市金寨產業園區
深圳辦事處地址:深圳市福田區寶華大廈A1428
中山辦事處地址:中山市古鎮長安燈飾配件城C棟11卡
杭州辦事處:杭州市西湖區文三西路118號杭州電子商務大廈6層B座
電話:13534146615
企業QQ:2881579535

深圳市壹芯微科技有限公司 版權所有 | 備案號:粵ICP備2020121154號