來源:壹芯微 發布日期
2020-03-23 瀏覽:-gan基電力電子器件圖
該GaN功率器件可以應用在快速充電設備中, 令其避免出現受高溫熔斷的情況,進而確保此功率器件在進行快速充電時能夠很好的運行使用。
我們使用的手機充電器中常用的功率器件就是三極管,其主要用于功率開關管,即能承受較大電流,漏電流較小,在一定條件下有較好飽和導通及截止特性的三極管,而若是用于快速充電,則其通過的電流相對較大,因此會令其產生較多的熱量,現有的三極管均會裝有相應的散熱部,但其主要是對于基板及芯片進行散熱,而引腳與基板及芯片連接時通常使用金屬導線實現連接,因此其在工作中,引腳及金屬導線處的熱量會出現散出不及時的情況,特別對于金屬導線處,承受高溫較長時間,會令其燒斷,進而令此功率器件失效。
如果能夠設計一種對引腳與基板及芯片之間連接用的金屬導線進行有效散熱的功率器件,就可以解決此類問題,為此,同輝電子申請了一項名為“一種應用于快速充電的GaN功率器件”

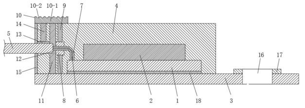
圖1 GaN功率器件剖視圖
上圖為此專利中提出用于快速充電的GaN功率器件剖視圖,整個器件都圍繞基板1來完成。
可以看到在基板1的上側壁固定安裝的是氮化鎵芯片2,而在基板1的下側壁固定安裝金屬板3,金屬板3主要用來將基板1及氮化鎵芯片2處的熱量導走。我們通過固定在金屬板3上面的封裝體4將基板1和氮化鎵芯片2封裝在內,封裝體4可以實現對基板1及氮化鎵芯片2處進行保護。
另外在封裝體4的左側壁嵌入有引腳5,引腳5與基板1或氮化鎵芯片2之間固定連接有金屬導線6,同時,引腳5還與外界電路板相連,并通過金屬導線6與基板1和氮化鎵芯片2相連,金屬導線6的外側壁套接有導熱硅膠管7、導熱環8以及第一導熱桿9。封裝體4的上側壁還固定安裝散熱裝置10,散熱裝置10可以將封裝體4上側的熱量散出。
該GaN功率器件可以應用在快速充電設備中,在使用時,基板1及氮化鎵芯片2處產生的熱量通過導熱環氧樹脂層18后從金屬板3導出實現散熱,引腳5處產生的熱量通過導熱硅膠板13和第二導熱桿14后從散熱裝置10處散出,且通過隔板11的隔熱作用,使引腳5處產生的熱量中的大部分不會傳導到金屬導線6處,而金屬導線6處的熱量經過導熱硅膠管7、導熱環8和第一導熱桿9后,一部分從金屬板3處散出,一部分從散熱裝置10處散出,實現金屬導線6及整體的散熱,對金屬導線6處實現高溫下的保護,令其避免出現受高溫熔斷的情況,進而確保此功率器件在進行快速充電時能夠很好的運行使用。
壹芯微科技針對二三極管,MOS管作出了良好的性能測試,應用各大領域,如果您有遇到什么需要幫助解決的,可以點擊右邊的工程師,或者點擊銷售經理給您精準的報價以及產品介紹
工廠地址:安徽省六安市金寨產業園區
深圳辦事處地址:深圳市福田區寶華大廈A1428
中山辦事處地址:中山市古鎮長安燈飾配件城C棟11卡
杭州辦事處:杭州市西湖區文三西路118號杭州電子商務大廈6層B座
電話:13534146615
企業QQ:2881579535

深圳市壹芯微科技有限公司 版權所有 | 備案號:粵ICP備2020121154號