來源:壹芯微 發布日期
2020-11-11 瀏覽:-高速MOS驅動應用指南詳解
高速MOS驅動應用指南
高速MOS驅動應用:雙極晶體管和場效應晶體管有著相同的工作原理。從根本上說,,兩種類型晶體管均是電荷控制元件,即它們的輸出電流和控制極半導體內的電荷量成比例。
當這些器件被用作開關時,兩者必須和低阻抗源極的拉電流和灌電流分開,用以為控制極電荷提供快速的注入和釋放。從這點看,MOS-FET在不斷的開關,當速度可以和雙極晶體管相比擬時,它被驅動的將十分的‘激烈’。
理論上講,雙極晶體管和MOSFET的開關速度是基本相同的,這取決與載流子穿過半導體所需的時間。在功率器件的典型值為20 ~ 200皮秒,但這個時間和器件的尺寸大小有關。與雙極結型晶體管相比,MOSFET在數字技術應用和功率應用上的普及和發展得益于它的兩個優點。
優點之一就是在高頻率開關應用中MOSFET使用比較方便。MOSFET更加容易被驅動,這是因為它的控制極和電流傳導區是隔離開的,因此不需要一個持續的電流來控制。一旦MOSFET導通后,它的驅動電流幾乎為0。
另外,在MOSFET中,控制電荷的積累和存留時間也大大的減小了。這基本解決了設計中導通電壓降(和多余的控制電荷成反比)和關斷時間之間的矛盾。因此,MOSFET技術以其更加簡單的、高效的驅動電路使它比晶體管設備具有更大的經濟效益。
高速MOS驅動應用:開關應用
我們來研究下MOSFET的真實開關行為。為了更好的理解其基本過程,電路中的寄生電感將會被忽略掉。隨后,它們在基本工作中各自的影響將會單獨的分析。
此外,下面的說明和鉗位感應開關有關,這因為大多數被用于電源模式的MOSFET晶體管和高速門驅動電路工作于那個模式。

一個最簡單的鉗位感應開關模型如圖三(Figure)所示, 直流電流源代表感應器。在開關間隔比較小的情況下,它的電流可看作是連續的。在MOSFET截止期間二極管為電流提供了一個回路,設備的漏極終端用一個電池來象征表示。
高速MOS驅動應用:導通過程
MOSFET的導通過程可分為如圖4(即Figure4)所示的四個階段。

第一個階段:輸入電容從0開始充電到Vth,在這個過程,柵極絕大部分電流都用來給電容CGS充電,也有很小的電流流過電容CGS。當電容CGS的電壓增加到門的極限時,它的電壓就會有稍微的減小。這個過程稱為導通延遲,這是因為此時器件的漏極電流和漏極電壓均未發生變化。
當柵極電壓達到開啟電壓時,MOSFET處于微導通狀態。在第二個階段,柵極電壓從Vth上升到Miller平坦區,即VGS,Miller。這是器件的線性工作區,電流和柵極電壓成正比。在柵極的一側,電流如第一階段一樣流入電容CGS和CGD,電容VGS的的電壓將會不斷升高。
在器件的輸出端,漏極電流也不斷變大,但是漏源電壓基本不變,保持先前水平(VDS,OFF)。這從圖3的原理圖可以看出來。當所有電流都流入MOSFET而且二極管完全截止(pn結能承受反向電壓)后,漏極電壓必須保持在輸出電壓水平。
進入導通過程的第三個階段,柵極電壓(VGS,Miller)已經足夠使漏極電流全部通過,而且整流二極管處于完全截止狀態。現在允許漏極電壓下降。在器件漏極電壓下降過程中,柵源電壓保持不變。
這就是柵極電壓波形的Miller平坦區。從驅動得到的可用的所有柵極電流通過電容CGD放電,這將加快漏源電壓變化。而漏極電流幾乎不變,這是由于此刻它受外部電路(即直流電流源)限制。
最后一個階段MOSFET溝道增強,處于完全導通狀態,這得益于柵極的電壓已經足夠高。最終的VGS電壓幅度將決定器件最終導通阻抗。因此,在第四個階段,電壓VGS從Miller平坦區增大到其最大值VDRV。
這由于電容CGS和CGD的充電完成,因此柵極電流被分成這兩部分。在這兩個電容充電過程中,漏極電流保持不變,漏源電壓也隨著導通阻抗的減小而慢慢的減小。
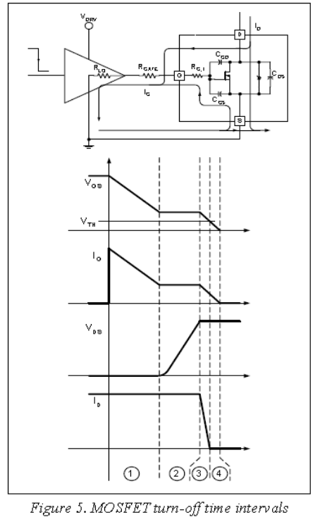
關斷過程
MOSFET的關斷過程恰好和它的導通過程相反。電壓VGS從圖3的VDRV開 始,電流從圖3的最大負載電流IDC開始。漏源電壓由MOSFET的電流IDC和導通阻抗決定。圖5完整的顯示了關斷的四個階段。

第一個階段是關斷延遲,這階段需要電容CISS從最初值電壓放電到Miller平坦區水平。這期間柵極電流由電容CISS提供,而且它流入MOSFET的電容CGS和CGD。器件的漏極電壓隨著過載電壓的減小而略微的增大。此階段漏極電流幾乎不變。
在第二個階段,管子的漏源電壓從IDC·RDS(On)增加到最終值(VDS(off)),由圖3的原理圖可知它是由整流二極管強制決定的。在這一階段,即相當于柵極電壓波形的Miller平坦區,柵極電流完全是電容CGD的充電電流因為柵源電壓是不變的。這個電流由電源級的旁路電容提供而且它是從漏極電流減掉的。總的漏極電流仍然等于負載電流,也就是圖3直流電源表示的感應電流。
二極管的導通預示著第三個階段的開始,二極管給負載電流提供另一通路。 柵極電壓從VGS,Miller降到Vth。大部分的柵極電流來自于電容CGS,因為事實上電容CGD在前一個階段是充滿電的。
MOSFET處于線性工作區,而且柵源電壓的降低將會導致漏極電流的減小,在這個階段的最后漏極電流幾乎達到0。與此同時,由于整流二極管的正向偏置漏極電壓將維持在VDS(off)。
截止過程的最后一個階段是器件的輸入電容完全放電。電壓VGS進一步減小到0。占柵極電流較大比例部分的電流,和截止過程的第三階段一樣,由電容CGS提供。器件的漏極電流和漏極電壓保持不變。
綜合上述結論,可以總結為:在四個階段(無論是導通還是關斷)里,場效應晶體管可在最大阻抗和最小阻抗間變換。四個階段的時間是寄生電容、所需電壓變化、柵極驅動電流的函數。這就突出了在高速、高頻開關應用設計中器件選擇部分和柵極最適合工作條件的重要性。
壹芯微科技針對二三極管,MOS管作出了良好的性能測試,應用各大領域,如果您有遇到什么需要幫助解決的,可以點擊右邊的工程師,或者點擊銷售經理給您精準的報價以及產品介紹
工廠地址:安徽省六安市金寨產業園區
深圳辦事處地址:深圳市福田區寶華大廈A1428
中山辦事處地址:中山市古鎮長安燈飾配件城C棟11卡
杭州辦事處:杭州市西湖區文三西路118號杭州電子商務大廈6層B座
電話:13534146615
企業QQ:2881579535

深圳市壹芯微科技有限公司 版權所有 | 備案號:粵ICP備2020121154號