來源:壹芯微 發布日期
2020-06-12 瀏覽:-NPN型三極管的三個工作狀態介紹
大家都知道三極管是電流控制型元件,三極管工作在放大狀態下存在Ic=βIb的關系,怎么理解三極管的放大模型呢?這兒我們拋開三極管內部空穴和電子的運動,還是那句話只談應用不談原理,希望通過下面的“圖解”讓初學者對三極管有一個形象的認識。
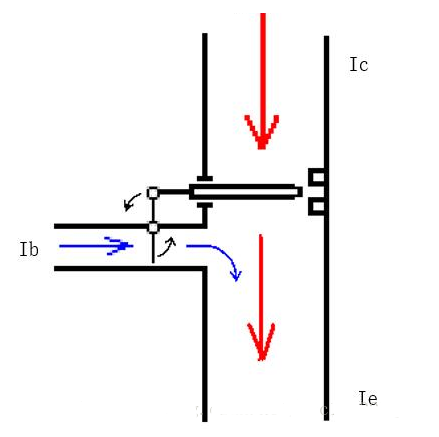
三極管是一個以b(基極)電流Ib 來驅動流過CE 的電流Ic 的器件,它的工作原理很像一個可控制的閥門。

圖1
左邊細管子里藍色的小水流沖動杠桿使大水管的閥門開大,就可允許較大紅色的水流通過這個閥門。當藍色水流越大,也就使大管中紅色的水流更大。如果放大倍數是100,那么當藍色小水流為1 千克/小時,那么就允許大管子流過100千克/小時的水。三極管的原理也跟這個一樣,放大倍數為100 時,當Ib(基極電流)為1mA 時,就允許100mA 的電流通過Ice。
NPN型三極管的三個工作狀態講解
首先我們應該知道三極管有三個狀態。
分別為截止狀態、飽和狀態和放大狀態。
三極管在飽和狀態和截止狀態時都具有放大效應。
接下來我們以NPN型三極管為例,分別講解一下這三個狀態。
這三個狀態你都明白了,三極管的放大效應你自然會明白是怎么回事了。
截止狀態
簡單來說,我們可以把B極斷開看做是截止狀態,如下圖所示的這種狀態,此時三極管不導通,C極電位和電源電壓一樣是12V。
截止狀態很好理解,我在這里不再多做闡述。

飽和狀態
由于每一個三極管的放大倍數都不一樣,每一種型號的三極管都有差別,所以現在我們不指定某一型號的三極管,只是闡述它們都遵守的這個原理,這樣,你原理搞明白了,再去看的話,都就懂了。
這時候我們給B極接上5V電源,然后中間串聯一個阻值很大的電阻,你可以把這個電阻想象成無窮大。

然后我們然電阻R1的阻值慢慢變小,這時候流過的電流就會慢慢的變大,直到這個三極管被喚醒。
被喚醒之后,三極管的CE極就會有電流通過,但是比流過BE極的要大的多,比如說BE流過的電流是1ma,這時候CE極流過的就是100ma,這也是三極管放大效應一種。
然后我們繼續讓BE間的電流增大,那么CE極會跟著放大嗎?
答案是會的,但不是一直放大,因為把12V都給了上面那個電阻是這個電路可以得到的最大的值。
直到BE極間的電流增大到某一個值之后,CE極間電流不再變化,我們就稱三極管此時達到了飽和狀態。
就像鹽水一樣,最開始我們把鹽放到水里面,鹽會溶于水,但是隨著我們鹽投入的越來越多,直到某一時刻,鹽不再溶于水了,水里面出現結晶了,我們就說鹽水飽和了,三極管的飽和和這個道理是一樣的。
放大狀態
我們這時候固定R1不變,也就是流過B極的電流不變。
我們把12V慢慢變大,最開始由于電源的增大,流過CE的電流慢慢變大。

如果一直增大的,后面會有一個值,無論我們怎么增大電源,這一路的電流都不會變化了,為什么呢?
因為三極管讓電源增大的電壓,施加給了它自己,此時CE之間電壓會增大,它之所以增大,是為了保持整個電路的電流保持不變,,比如說電源從12V-20V之間變化時,流過這一路的電流會保持恒定,這就是三極管的放大狀態。
再往后就不能再增大電源了,因為三極管是有耐壓的,比如說增大到40V,這時候三極管可能會被擊穿,造成永久性的損壞!
壹芯微科技針對二三極管,MOS管作出了良好的性能測試,應用各大領域,如果您有遇到什么需要幫助解決的,可以點擊右邊的工程師,或者點擊銷售經理給您精準的報價以及產品介紹
工廠地址:安徽省六安市金寨產業園區
深圳辦事處地址:深圳市福田區寶華大廈A1428
中山辦事處地址:中山市古鎮長安燈飾配件城C棟11卡
杭州辦事處:杭州市西湖區文三西路118號杭州電子商務大廈6層B座
電話:13534146615
企業QQ:2881579535

深圳市壹芯微科技有限公司 版權所有 | 備案號:粵ICP備2020121154號