來源:壹芯微 發布日期
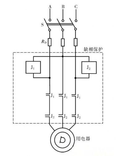
2022-11-17 瀏覽:-三相電動機在運轉中如長時間缺相運行,電動機就會因繞組電流過大發熱而被燒毀。如果是在啟動時缺相,電動機就會嗡嗡作響而轉不起米,甚至發熱而被燒毀。如使用三相電源的柜式空調機,缺相也有燒壞壓縮機的可能,會造成較大的經濟損失。本文介紹的電路可以克服這一缺點,如圖所示。
電路構成:用兩個型號相同的繼電器(主觸頭應能滿足電動機的最大電流量,線圈電壓為380V)作缺相保護,效果良好。其接線方法如圖所示。將兩個繼電器的主觸頭串聯在電動機供電回路中。當三相都有電時繼電器J1、J2同時得電吸合,并閉合其主觸頭,使電路安全接通,如在運行時A相或B相突然斷電,繼電器J1將失電跳開,若B相或C相突然斷電,繼電器J2將失電跳開,切斷電源。故A、B、c三相之中缺少了任一相,電動機的電源都會被切斷,從而起到了保護作用。
元器件選擇:該電路元器件無特殊要求,按圖標選用即可。
壹芯微科技專注于“二,三極管、MOS(場效應管)、橋堆”研發、生產與銷售,20年行業經驗,擁有先進全自動化雙軌封裝生產線、高速檢測設備等,研發技術、芯片源自臺灣,專業生產流程管理及工程團隊,保障所生產每一批物料質量穩定和更長久的使用壽命,實現高度自動化生產,大幅降低人工成本,促進更好的性價比優勢!選擇壹芯微,還可為客戶提供參數選型替代,送樣測試,技術支持,售后服務等,如需了解更多詳情或最新報價,歡迎咨詢官網在線客服!
手機號/微信:13534146615
QQ:2881579535
工廠地址:安徽省六安市金寨產業園區
深圳辦事處地址:深圳市福田區寶華大廈A1428
中山辦事處地址:中山市古鎮長安燈飾配件城C棟11卡
杭州辦事處:杭州市西湖區文三西路118號杭州電子商務大廈6層B座
電話:13534146615
企業QQ:2881579535

深圳市壹芯微科技有限公司 版權所有 | 備案號:粵ICP備2020121154號