來源:壹芯微 發布日期
2023-02-18 瀏覽:-積分電路
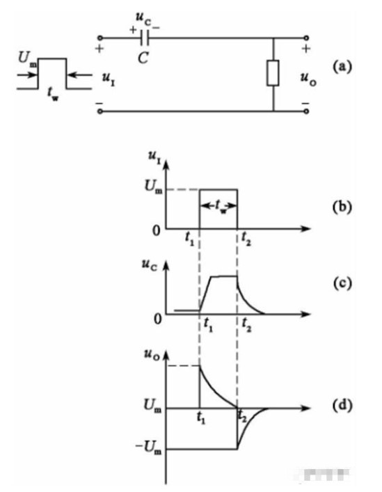
積分電路就是如下圖的低通濾波電路,只是當VIN輸入一個方波信號而且方波寬度tw遠小于時間常數τ時就出現了積分效果。 通常,當τ≥3tw時就滿足條件了。
RC低通濾波電路
(a)t=t1時刻,UI由0跳變到Um,由于電容兩端電壓不能突變,故UC=0,輸出UO=UC=0。
(b)在t1~t2期間,輸入電壓UI= Um保持不變,電容C被充電, UC按指數規律上升。 由于電路的時間常數τ很大(τ≥tw),所以充電速度特別慢,在t1~t2期間, UC的上升僅僅是充電過程的開始一小段,可以近似認為線性增長,如下圖中AB段所示。 可能有人就會問,τ
(c)當t= t2時,UI從Um下跳到0,相當于輸入端短路,電容C通過電阻R開始放電,輸出電壓下降,直到下一個矩形脈沖的到來。
RC積分電路的工作特點是輸入矩形脈沖的穩定部分,輸出電壓有明顯的變化,而在輸入矩形脈沖的跳變時刻,輸出電壓保持不變。 它對輸入脈沖信號起到“突出恒定量,壓低變化量”的作用。
積分電路工作波形圖
微分電路
微分電路工作波形圖
積分電路就是上圖(a)的高通濾波電路,只是當Ui輸入一個方波信號而且方波寬度tw遠大于時間常數τ時就出現了微分效果。 通常,當τ≤1/5 tw時,可以滿足條件了。
(a)當t
(b)在t=t1的瞬間,UI由0突變為Um,立即通過C和R。 從上圖可知,UO= UI- UC,由于電容電壓UC不能突變,此時UC仍為0,故有UO= UI= Um,即輸出電壓UO由0變為Um。
(c)在t1~t2期間,輸入電壓UI保持Um不變,由于電路時間常數τ很小(τ≤tw),所以,電容C被迅速充電, UC上升很快。 而輸出電壓UO= UI- UC,則迅速下降。 在t=t2之前, UC很快達到Um ,而UO也迅速下降為0,形成一個正的尖峰脈沖波。
(d)在t=t2時刻,UI從Um跳變到0,由于電容兩端電壓不會突變, UC仍為Um 。 所以, UO=UI- UC=- Um 。
(e)在t2時刻以后,同樣因為電路時間常數τ很小,電容迅速放電, UO很快由- Um上升到0,形成一個負的尖峰脈沖波。
RC微分電路的輸出脈沖反映了輸入脈沖的變化部分,即反映了UI 在t1和t2時刻的跳變,此時輸出電壓的幅度最大; 而在t1~t2期間,輸入電壓保持不變,輸出電壓基本為0。 概括地說,微分電路能對輸入脈沖起到“突出變化量、壓低恒定量”的作用。
壹芯微科技專注于“二,三極管、MOS(場效應管)、橋堆”研發、生產與銷售,20年行業經驗,擁有先進全自動化雙軌封裝生產線、高速檢測設備等,研發技術、芯片源自臺灣,專業生產流程管理及工程團隊,保障所生產每一批物料質量穩定和更長久的使用壽命,實現高度自動化生產,大幅降低人工成本,促進更好的性價比優勢!選擇壹芯微,還可為客戶提供參數選型替代,送樣測試,技術支持,售后服務等,如需了解更多詳情或最新報價,歡迎咨詢官網在線客服!
手機號/微信:13534146615
QQ:2881579535
工廠地址:安徽省六安市金寨產業園區
深圳辦事處地址:深圳市福田區寶華大廈A1428
中山辦事處地址:中山市古鎮長安燈飾配件城C棟11卡
杭州辦事處:杭州市西湖區文三西路118號杭州電子商務大廈6層B座
電話:13534146615
企業QQ:2881579535

深圳市壹芯微科技有限公司 版權所有 | 備案號:粵ICP備2020121154號